Каталог запчастей для тракторов ММЗ БЕЛАРУС -1523.4
Установка сцепления 260.1-1005009 (1601)
Корпус сцепления (2022-1600010-А-01) (с КП 24х12)
Коробка переда 1522-1700010 (1701)
Механизм управления коробкой передач (1702)
Коробка передач 1222-1700010 (24F+12R) (1701)
Вал пониженных передач и заднего хода (1701)
Мexанизм управления коробкой передач (1702)
Главная передача переднего ведущего моста (1222-2300020-05) (2302)
Редуктор конечной передачи переднего ведущего моста (1222-2300020-05) (2308)
Корпус заднего моста. Конечная передача (2401, 2407)
Дифференциал. Стакан подшипников (2403, 2407)
Система смазки заднего моста (вариант 1) (2401)
Система смазки заднего моста (вариант 2) (2401)
Управление тормозами. Бачки тормозной жидкости (3503)
Управление «мокрыми» тормозами (вариант 1) (3503)
Управление «мокрыми» тормозами (вариант 2) (3503)
Управление стояночным тормозом («мокрым») (3503)
Трубопроводы и арматура пневмопривода тормозов прицепа (3506)
Электрооборудование по дизелю (3700)
Электрооборудование по трансмиссии (3700)
Электрооборудование по кабине I (3700)
Электрооборудование по кабине II (3700)
Передний вал отбора мощности (4209)
Редуктор переднего вала отбора мощности (4209)
Узлы и элементы навесного устройства (4605)
Переднее навесное устройство (4606)
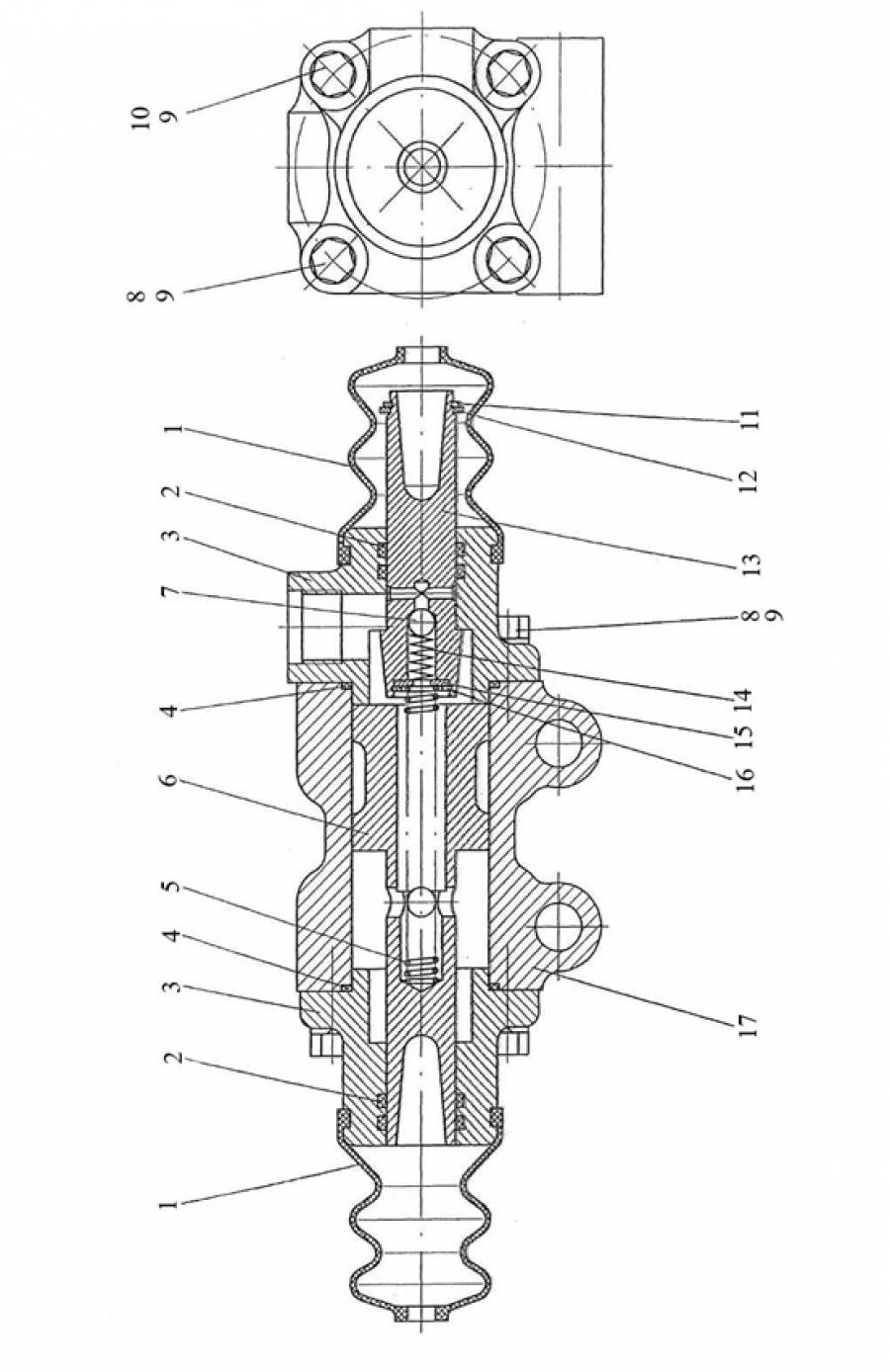
Гидроусилитель (1602)

№ поз. |
Артикул |
Кол-во |
Наименование |
|
80-1602510-01 |
1 |
Гидроусилитель |
1 |
142-1602543 |
2 |
Чехол |
2 |
020-025-30-1-4 |
4 |
Кольцо |
3 |
80-1602512 |
2 |
Крышка |
4 |
040-044-25-1-2 |
2 |
Кольцо |
5 |
80В-1602046 |
1 |
Пружина |
6 |
80-1602513 |
1 |
Поршень |
7 |
6,350-100 |
1 |
Шарик |
8 |
М8х25 |
4 |
Болт |
9 |
8Т |
8 |
Шайба |
10 |
М8х40 |
4 |
Болт |
11 |
С18 |
1 |
Кольцо |
12 |
80-1602514 |
1 |
Кольцо |
13 |
80-1602521 |
1 |
Толкатель |
14 |
80-3405044 |
1 |
Пружина |
15 |
С5 |
1 |
Шайба |
16 |
С16 |
1 |
Кольцо |
17 |
80-1602511 |
1 |
Корпус |
Рейтинг компании ООО «Агроснабпоставка Плюс»: 4.8 (Голосов: 237)★★★★★