Каталог запчастей для тракторов ММЗ БЕЛАРУС -1523.4
Установка сцепления 260.1-1005009 (1601)
Корпус сцепления (2022-1600010-А-01) (с КП 24х12)
Коробка переда 1522-1700010 (1701)
Механизм управления коробкой передач (1702)
Коробка передач 1222-1700010 (24F+12R) (1701)
Вал пониженных передач и заднего хода (1701)
Мexанизм управления коробкой передач (1702)
Главная передача переднего ведущего моста (1222-2300020-05) (2302)
Редуктор конечной передачи переднего ведущего моста (1222-2300020-05) (2308)
Корпус заднего моста. Конечная передача (2401, 2407)
Дифференциал. Стакан подшипников (2403, 2407)
Система смазки заднего моста (вариант 1) (2401)
Система смазки заднего моста (вариант 2) (2401)
Управление тормозами. Бачки тормозной жидкости (3503)
Управление «мокрыми» тормозами (вариант 1) (3503)
Управление «мокрыми» тормозами (вариант 2) (3503)
Управление стояночным тормозом («мокрым») (3503)
Трубопроводы и арматура пневмопривода тормозов прицепа (3506)
Электрооборудование по дизелю (3700)
Электрооборудование по трансмиссии (3700)
Электрооборудование по кабине I (3700)
Электрооборудование по кабине II (3700)
Передний вал отбора мощности (4209)
Редуктор переднего вала отбора мощности (4209)
Узлы и элементы навесного устройства (4605)
Переднее навесное устройство (4606)
Электрооборудование по кабине II (3700)
|
№ поз |
Артикул |
Кол-во |
Наименование |
|
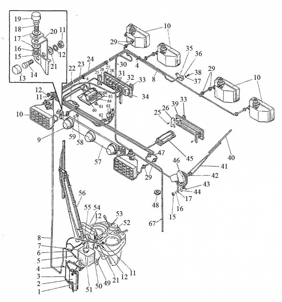
1 |
923-3712016 |
1 |
Прокладка |
|
2 |
923-3712017 |
1 |
Кронштейн |
|
3 |
923-3724130-B |
1 |
Жгут |
|
4 |
80-3723045 |
8 |
Манжета |
|
5 |
923-5208002 |
1 |
Трубка |
|
6 |
5208.15 |
1 |
Распределитель |
|
7 |
122.5208000 |
1 |
Омыватель электрический |
|
8 |
923-5208002-01 |
1 |
Трубка |
|
9 |
3738.10 |
3 |
Фонарь автопоезда |
|
10 |
8724.304/31 |
6 |
Фара рабочая |
|
11 |
М6 |
9 |
Гайка |
|
12 |
ШП6 |
17 |
Шайба |
|
13 |
АЗО.04.017 |
2 |
Колпачок |
|
14 |
M6X16 |
2 |
Болт |
|
15 |
M8 |
6 |
Гайка |
|
16 |
ШП8 |
6 |
Шайба |
|
17 |
ШЧ6 |
6 |
Шайба |
|
18 |
М8х20 |
2 |
Болт |
|
19 |
АЗ0.04.017-01 |
2 |
Колпачок |
|
20 |
90-8402071-01 |
2 |
Кронштейн |
|
21 |
ШЧ8 |
6 |
Шайба |
|
22 |
923-3724233-А |
1 |
Жгут |
|
23 |
923-3724353-Б |
1 |
Жгут |
|
24 |
923-3724350-Б |
1 |
Жгут |
|
25 |
4x10 |
8 |
Шуруп |
|
26 |
923-3801344 |
4 |
Пластина |
|
27 |
3710.40 |
1 |
Выключатель знака автопоезда |
|
28 |
3709.35 |
1 |
Переключатель стеклоочистителя и стеклоомывателя |
|
29 |
923-3723024 |
14 |
Втулка |
|
30 |
923-3724014-Б |
1 |
Жгут |
|
31 |
3710.30 |
3 |
Выключатель фар рабочих |
|
32 |
3709.15 |
1 |
Переключатель вентилятора |
|
33 |
80-3801327 |
2 |
Заглушка |
|
34 |
923-3801342 |
1 |
Щиток |
|
35 |
5208.10 |
1 |
Жиклер |
|
36 |
70-5208011-А |
1 |
Пластина |
|
37 |
ШЧ5 |
2 |
Шайба |
|
38 |
4x10 |
2 |
Винт |
|
39 |
923-7901018 |
1 |
Щиток |
|
40 |
20.5212 400 |
1 |
Щетка стеклоочистителя |
|
41 |
20.5215 300 |
1 |
Рычаг стеклоочистителя |
|
42 |
822-5205043 |
1 |
Втулка |
|
43 |
80-3723045-01 |
1 |
Манжета |
|
44 |
923-5205022 |
1 |
Кронштейн |
|
45 |
3714.25 |
1 |
Плафон освещения кабины 185х46,5 |
|
46 |
Т240-5205010 |
1 |
Привод с кожухом |
|
47 |
923-3723042 |
1 |
Втулка |
|
48 |
80-3723048 |
1 |
Втулка |
|
49 |
BM4x10 BM6X12 M4 ШП4 |
2 4 2 2 |
Винт Винт Гайка Шайба |
|
50 |
122.5208 304 |
1 |
Кронштейн |
|
51 |
M6X12 |
3 |
Болт |
|
52 |
923-3724130-В |
1 |
Жгут |
|
53 |
923-5208005 |
1 |
Кронштейн |
|
54 |
5205.15 |
1 |
Стеклоочиститель пантографный |
|
55 |
70-1602037 |
1 |
Втулка |
|
56 |
5205.45 |
1 |
Щеткас рычагом 660/600с форсункой |
|
57 |
80-3738001 |
1 |
Пластина |
|
58 |
M5 |
6 |
Гайка |
|
59 |
ШП5 |
6 |
Шайба |
|
60 |
822-3801341 |
1 |
Щиток |
|
61 |
80-3805065 |
1 |
Винт |
|
62 |
70-3723042-01 |
1 |
Втулка |
|
63 |
3747.50 |
2 |
Реле на замыкание 30А |
|
64 |
006-010-25-1-4 |
1 |
Кольцо |
|
65 |
923-3801343-Б |
1 |
Табличка |
|
66 |
3722.25 |
1 |
Блок предохранителей |
|
67 |
923-3724351 |
1 |
Жгут |
Рейтинг компании ООО «Агроснабпоставка Плюс»: 4.8 (Голосов: 237)★★★★★

