Каталог запчастей тракторов МТЗ БЕЛАРУС-1025/1025.2/1025.3
Блок цилиндров. Установка передней опоры (Д-245/Д-245С) (1001, 1002)
Блок цилиндров. Установка передней опоры (Д-245С2) (1001, 1002)
Установка головки цилиндров и впускного тракта (Д-245-26/Д-245С214)
Установка головки цилиндров и впускного тракта (Д-245С2) (1003,1007)
Поршни и шатуны. Коленчатый вал и маховик (Д-245/Д-245С) (1004,1005)
Поршни и шатуны. Коленчатый вал и маховик (Д-245С2) (1004,1005)
Распределительный механизм (Д-245/Д-245С/Д-245С2) (1007)
Система впуска и выпуска (Д-245/Д-245С) (1008)
Система впуска и выпуска (Д-245С2) (1008)
Маслопроводы турбокомпрессора (Д-245) (1118)
Маслопроводы турбокомпрессора (Д-245С) (1118)
Маслопроводы турбокомпрессора (Д-245С2) (1118)
Привод насоса рулевого управления (Д-245/Д-245С/Д-245С2) (1022)
Бак топливный (в комплектации трактора с гидроподъемником) (1101)
Топливные трубопроводы и установка топливной аппаратуры (Д-245-26/Д-245С-214) (1104, 1111)
Топливные трубопроводы и установка топливной аппаратуры (Д-245С2) (1104, 1111)
Фильтр топливный грубой очистки (Д-245/Д-245С/Д-245С2) (1105)
Фильтр топливный тонкой очистки (Д-245/Д-245С/Д-245С2) (1117)
Управление подачей топлива (1108)
Управление подачей топлива (с гидроподъемником) (1108)
Радиатор водяной (Д-245/Д-245С) (1301)
Блок охлаждения (для Д-245С2) (1301)
Установка термостата (Д-245/Д-245С) (1306)
Установка водяного насоса. Установка вентилятора (Д-245/Д-245С) (1307, 1308)
Установка водяного насоса. Установка вентилятора (Д-245С2) (1307, 1308)
Установка масляного картера (Д-245/Д-245С/Д-245С2) (1009, 1401)
Установка масляного насоса. Установка приемника масляного насоса. (Д-245/Д-245С/Д-245С2) (1403)
Установка масляного фильтра с жидкостно-масляным теплообменником (Д-245/Д-245С/Д-245С2) (1404)
Передний ведущий мост 72-2300020-А (2300)
Передний ведущий мост 822-2300020 (2300)
Главная передача переднего ведущего моста переднего ведущего моста (2302)
Редуктор конечной передачи переднего ведущего моста (для ПВМ 72-2300020-А) (2308)
Редуктор конечной передачи переднего ведущего моста (для ПВМ 822-2300020) (2308)
Корпус заднего моста. Дифференциал. Конечная передача (2401, 2403, 2407)
Механизм блокировки дифференциала (2409)
Устройство прицепное. Вариант «крюк» (по заказу) (2707)
Устройство прицепное. Вариант «маятник или прицеп» (2707)
Управление рулевое (с ПВМ 822-2300020) (3407)
Управление рулевое (с ПВМ 72-2300020-А) (3407)
Управление рулевое с ПВМ 822-2300020-04 и отдельным баком (3407)
Тормоза. Управление тормозами (3502, 3503)
Тормоза (вариант исполнения) (3502)
Тормоза «мокрые» (левый/правый) (3502)
Тормоз стояночно-запасной. Управление стояночно-запасным тормозом (3504, 3507)
Пневмопривод (исполнение с двумя балонами) (3506)
Электрооборудование по дизелю (3700)
Электрооборудование по дизелю II (3700)
Электрооборудование трансмиссии (3700)
Электрооборудование по кабине (3700)
Установка батарей аккумуляторных (система запуска 12В) (3703)
Установка батарей аккумуляторных (система запуска 24В) (3703)
Установка батарей аккумуляторных (3703)
Подогреватель электрофакельный (3707)
Установка фонарей передних I (3712)
Вал отбора мощности задний (4202)
Вал отбора мощности задний 1221-4202010-А (4202)
Механизм задней навески (4605)
Механизм задней навески (по заказу) (4605)
Механизм задней навески (с гидроподъемником) (4605)
Наружная блокировка нижних тяг (4605)
Гидросистема М1221-4600010 (4607)
Корпус гидросистемы М1221-4600015 (4607)
Гидросистема Р1221-4600010 (4607)
Корпус гидросистемы Р1221-4600015 (4607)
Гидросистема 85-4600010 (4607)
Управление гидрораспределителем RS 213 Mita, RS 213 Belarus, РП 70 (4607)
Управление гидрораспределителем Р80 (4607)
Корпус гидросистемы и фильтр (4607)
Гидрораспределитель Р80-3/4-222-ЗГг
Цилиндр гидроподъемника (4625)
Распределитель гидроподъемника (4634)
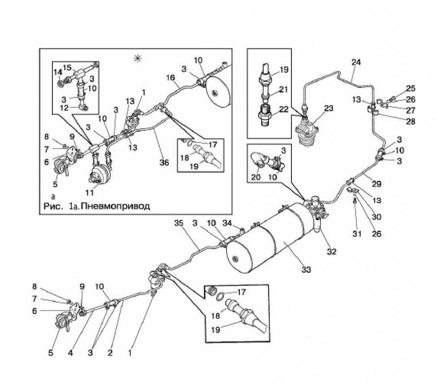
Пневмопривод (3506)
| № поз. | Артикул | Кол-во | Наименование |
|
1025-3506005 или 1025-3506005-05 |
1 1 |
Пневмопривод Пневмопривод (при установке передних грузов) |
|
| рис. 1а |
1025-3506005-01* или 1025-3506005-06 |
1 1 |
Пневмопривод (с пневмопереходником) Пневмопривод (при установке передних грузов) |
| 1 |
80-3514010 или A29.3514010 или 14.3514010 |
1 | Кран тормозной |
|
80-3514010-01 или А29.3514010-01 |
1 | Кран тормозной (для Венгрии, Германии) | |
| 2 | 70-3506471 | 1 | Трубопровод |
| 3 |
ХС-21 или "НОРМА" TORRO 16-25/9-C6W |
8/12* | Хомут |
| 4 | 70-3521035 | 1 | Штуцер |
| 5 |
80-3521010 или А29.76.000 или 12.3521010 |
1 | Головка соединительная |
| 6 | 70-3521012 | 1 | Кронштейн |
| 7 | 2 | Шайба 10 ОТ ОСТ 37.001.115-75 | |
| 8 | 2 | Гайка М10-6Н.6.019 ГОСТ 5915-70 | |
| 9 | 2 | Болт М10-6gх25.88.35.019 ГОСТ 7796-70 | |
| 10 | 70-1405013 | 4/6* | Шланг |
| 11 | А29.66.000 | 1 | Пневмопереходник |
| 12 | 70-3506095 | 2 | Угольник |
| 13 | 70-3506027 | 3/5* | Втулка |
| 14 | 80-3512006 | 1 | Контргайка |
| 15 | 70-3521030 | 1 | Тройник |
| 16 | 85-3506145 | 1 | Трубопровод |
| 17 | 2/3* | Кольцо 014-017-19-2-4 ГОСТ 18829-73/ГОСТ 9833-73 | |
| 18 | 70-3506028 | 2/3* | Муфта |
| 19 | 70-3506023 | 3/4* | Гайка накидная |
| 20 | 70-3513015 | 1 | Угольник |
| 21 | 80-3506024 | 1 | Муфта |
| 22 | 70-3506022 | 1 | Штуцер |
| 23 |
А29.01.000 или А29.05.000-В |
1 | Компрессор |
| 24 | 85-3506121-А | 1 | Трубопровод |
| 25 | 1 | Болт М8-6gх30.88.35.019 ГОСТ 7796-70 | |
| 26 | 2 | Шайба 8Т ОСТ 37.001.115-75 | |
| 27 | 70-3407146 | 1 | Планка |
| 28 | 70-3407144 | 1 | Планка резьбовая |
| 29 | 1025-3506031 | 1 | Трубопровод |
| 30 | 70-6804011 | 1 | Держатель |
| 31 | 1 | Болт М8-6gх16.88.35.019 ГОСТ 7796-70 | |
| 32 |
80-3512010 или А29.51.000 Б или 11.3512010-30 |
1 | Регулятор давления |
| 33 | 80-3513010 | 1 | Баллон |
| 34 | 80-3513015 | 1 | Тройник |
| 35 | 85-3506151 | 1 | Трубопровод |
| 36 | 70-3506481 | 1 | Трубопровод |
* Вариант
Рейтинг компании ООО «Агроснабпоставка Плюс»: 4.8 (Голосов: 237)★★★★★

