Каталог запчастей тракторов МТЗ БЕЛАРУС-1025/1025.2/1025.3
Блок цилиндров. Установка передней опоры (Д-245/Д-245С) (1001, 1002)
Блок цилиндров. Установка передней опоры (Д-245С2) (1001, 1002)
Установка головки цилиндров и впускного тракта (Д-245-26/Д-245С214)
Установка головки цилиндров и впускного тракта (Д-245С2) (1003,1007)
Поршни и шатуны. Коленчатый вал и маховик (Д-245/Д-245С) (1004,1005)
Поршни и шатуны. Коленчатый вал и маховик (Д-245С2) (1004,1005)
Распределительный механизм (Д-245/Д-245С/Д-245С2) (1007)
Система впуска и выпуска (Д-245/Д-245С) (1008)
Система впуска и выпуска (Д-245С2) (1008)
Маслопроводы турбокомпрессора (Д-245) (1118)
Маслопроводы турбокомпрессора (Д-245С) (1118)
Маслопроводы турбокомпрессора (Д-245С2) (1118)
Привод насоса рулевого управления (Д-245/Д-245С/Д-245С2) (1022)
Бак топливный (в комплектации трактора с гидроподъемником) (1101)
Топливные трубопроводы и установка топливной аппаратуры (Д-245-26/Д-245С-214) (1104, 1111)
Топливные трубопроводы и установка топливной аппаратуры (Д-245С2) (1104, 1111)
Фильтр топливный грубой очистки (Д-245/Д-245С/Д-245С2) (1105)
Фильтр топливный тонкой очистки (Д-245/Д-245С/Д-245С2) (1117)
Управление подачей топлива (1108)
Управление подачей топлива (с гидроподъемником) (1108)
Радиатор водяной (Д-245/Д-245С) (1301)
Блок охлаждения (для Д-245С2) (1301)
Установка термостата (Д-245/Д-245С) (1306)
Установка водяного насоса. Установка вентилятора (Д-245/Д-245С) (1307, 1308)
Установка водяного насоса. Установка вентилятора (Д-245С2) (1307, 1308)
Установка масляного картера (Д-245/Д-245С/Д-245С2) (1009, 1401)
Установка масляного насоса. Установка приемника масляного насоса. (Д-245/Д-245С/Д-245С2) (1403)
Установка масляного фильтра с жидкостно-масляным теплообменником (Д-245/Д-245С/Д-245С2) (1404)
Передний ведущий мост 72-2300020-А (2300)
Передний ведущий мост 822-2300020 (2300)
Главная передача переднего ведущего моста переднего ведущего моста (2302)
Редуктор конечной передачи переднего ведущего моста (для ПВМ 72-2300020-А) (2308)
Редуктор конечной передачи переднего ведущего моста (для ПВМ 822-2300020) (2308)
Корпус заднего моста. Дифференциал. Конечная передача (2401, 2403, 2407)
Механизм блокировки дифференциала (2409)
Устройство прицепное. Вариант «крюк» (по заказу) (2707)
Устройство прицепное. Вариант «маятник или прицеп» (2707)
Управление рулевое (с ПВМ 822-2300020) (3407)
Управление рулевое (с ПВМ 72-2300020-А) (3407)
Управление рулевое с ПВМ 822-2300020-04 и отдельным баком (3407)
Тормоза. Управление тормозами (3502, 3503)
Тормоза (вариант исполнения) (3502)
Тормоза «мокрые» (левый/правый) (3502)
Тормоз стояночно-запасной. Управление стояночно-запасным тормозом (3504, 3507)
Пневмопривод (исполнение с двумя балонами) (3506)
Электрооборудование по дизелю (3700)
Электрооборудование по дизелю II (3700)
Электрооборудование трансмиссии (3700)
Электрооборудование по кабине (3700)
Установка батарей аккумуляторных (система запуска 12В) (3703)
Установка батарей аккумуляторных (система запуска 24В) (3703)
Установка батарей аккумуляторных (3703)
Подогреватель электрофакельный (3707)
Установка фонарей передних I (3712)
Вал отбора мощности задний (4202)
Вал отбора мощности задний 1221-4202010-А (4202)
Механизм задней навески (4605)
Механизм задней навески (по заказу) (4605)
Механизм задней навески (с гидроподъемником) (4605)
Наружная блокировка нижних тяг (4605)
Гидросистема М1221-4600010 (4607)
Корпус гидросистемы М1221-4600015 (4607)
Гидросистема Р1221-4600010 (4607)
Корпус гидросистемы Р1221-4600015 (4607)
Гидросистема 85-4600010 (4607)
Управление гидрораспределителем RS 213 Mita, RS 213 Belarus, РП 70 (4607)
Управление гидрораспределителем Р80 (4607)
Корпус гидросистемы и фильтр (4607)
Гидрораспределитель Р80-3/4-222-ЗГг
Цилиндр гидроподъемника (4625)
Распределитель гидроподъемника (4634)
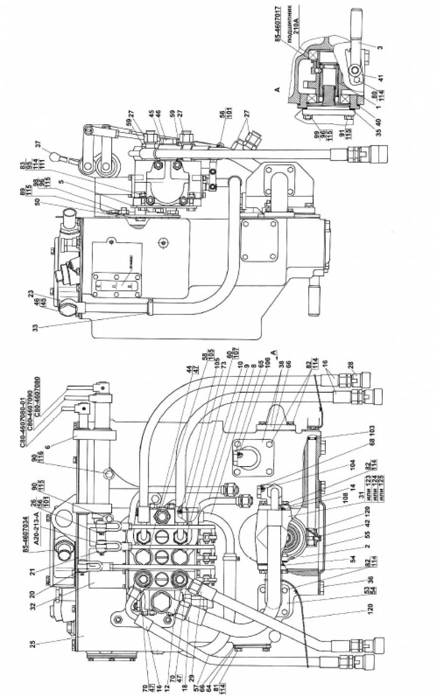
Корпус гидросистемы Р1221-4600015 (4607)
| № поз. | Артикул | Кол-во | Наименование |
| Р1221-4600015 | 1 | Корпус гидросистемы | |
| 1 | 85-4604010 | 1 | Привод насоса |
| 2 | 85-4604030 | 1 | Вилка |
| 3 | 85-4604040 | 1 | Рукоятка выключения |
| 5 | Р1221-4607030 | 1 | Кронштейн |
| 6 | 80-4607040-04 | 1 | Кронштейн |
| 8 | Р1221-4607050 | 1 | Труба |
| 9 | С85-4607060 | 1 | Труба |
| 10 | С85-4607080 | 1 | Труба |
| 12 | 952-4607080 | 1 | Штуцер |
| 14 | Д80-4607100 | 1 | Патрубок |
| 16 | 680-4607140-04 | 3 | Рукав высокого давления ф10х1 армирован. |
| 18 | 952-4607140 | 1 | Рукав высокого давления ф16х2 армирован. |
| 20 | Р1221-4607260 | 1 | Тяга |
| 21 | Р1221-4607260-01 | 2 | Тяга |
| 23 | 80В-4607375 | 1 | Труба |
| 25 | 85-4608010 | 1 | Корпус гидросистемы |
| 26 | А61-030-А1 | 3 | Палец |
| 27 | Н.036.12.010 | 4 | Заглушка |
| 28 | М036.50Б.10 | 4 | Корпус левый |
| 29 | ПН.036.83.040 | 1 | Рукав высокого давления ф10х1 армирован. |
| 31 | НШ32М-3 | 1 |
Насос шестеренный (доп. зам. на поз.123 или поз.124 или поз.125) |
| 32 | РП70-1221 | 1 | Распределитель |
| 33 | ХС-26 | 2 | Хомут |
| 35 | 36-1022054-А | 1 | Прокладка |
| 36 | 1221-1802091 | 2 | Пробка резьбовая |
| 37 | 70-3401093 | 3 | Наконечник рычага |
| 38 | 85-3407101 | 2 | Патрубок |
| 40 | 70-4604037 | 1 | Прокладка |
| 41 | 50-4604044 | 1 | Пластина |
| 42 | 50-4604046 | 1 | Болт вилки |
| 44 | 40-4607032 | 2 | Болт зажимной |
| 45 | 40-4607033-А-01 | 4 | Шайба |
| 46 | 40-4607037 | 2 | Болт |
| 47 | 40-4607038-А-01 | 8 | Шайба |
| 50 | 50-4607032-Б | 1 | Кронштейн |
| 53 | 50-4607096-А | 1 | Патрубок |
| 54 | 50-4607097 | 4 | Прокладка |
| 55 | 50-4607099 | 1 | Крышка |
| 56 | 70-4607144 | 6 | Шайба |
| 57 | М80-4607011 | 1 | Шланг |
| 58 | П80-4607016 | 1 | Штуцер |
| 59 | 952-4607061 | 2 | Штуцер |
| 60 | Р85-4607204 | 2 | Штуцер |
| 64 | 70-4608019 | 1 | Крышка |
| 65 | 85-4608021 | 2 | Пробка |
| 66 | 70-4608033 | 3 | Прокладка |
| 68 | 50-4608027-В | 1 | Пробка |
| 70 | 530-4614029 | 2 | Угольник |
| 73 | Н.036.04.011 | 1 | Штуцер ввертной |
| 80 | 2 | Болт М8-6gх16.88.35.019 ГОСТ 7796-70 | |
| 81 | 4 | Болт М8-6gх20.88.35.019 ГОСТ 7796-70 | |
| 82 | 20 | Болт М8-6gх25.88.35.019 ГОСТ 7796-70 | |
| 83 | 4 | Болт М8-6gх30.88.35.019 ГОСТ 7796-70 | |
| 89 | 4 | Болт М10-6gх20.88.35.019 ГОСТ 7796-70 | |
| 90 | 1 | Болт М10-6gх30.88.35.019 ГОСТ 7796-70 | |
| 91 | 2 | Болт М10-6gх40.88.35.019 ГОСТ 7796-70 | |
| 93 | 2 | Болт М12-6gх35.88.35.019 ГОСТ 7796-70 | |
| 95 | 4 | Гайка М8-6Н.6.019 ГОСТ 5915-70 | |
| 96 | 5 | Гайка М10-6Н.6.019 ГОСТ 5915-70 | |
| 98 | 3 | Шпилька М10 3р/6gх20.66.019 ГОСТ 22034-76 | |
| 99 | 2 | Шпилька М10 3р/6gх35.66.019 ГОСТ 22034-76 | |
| 101 | 6 | Шплинт 3,2х18.019 ГОСТ 397-79 | |
| 103 | 1 | Кольцо 013-017-25-1-4 ГОСТ 18829-73/ГОСТ 9833-73 | |
| 104 | 1 | Кольцо 017-022-30-1-4 ГОСТ 18829-73/ГОСТ 9833-73 | |
| 105 | 2 | Кольцо 021-024-19-2-2 ГОСТ 18829-73/ГОСТ 9833-73 | |
| 106 | 2 | Кольцо 021-025-25-1-4 ГОСТ 18829-73/ГОСТ 9833-73 | |
| 107 | 2 | Кольцо 024-028-25-1-4 ГОСТ 18829-73/ГОСТ 9833-73 | |
| 108 | 1 | Кольцо 035-040-30-1-4 ГОСТ 18829-73/ГОСТ 9833-73 | |
| 111 | 4 | Шайба С 8.01.019 ГОСТ 11371-78 | |
| 114 | 30 | Шайба 8Т ОСТ 37.001.115-75 | |
| 115 | 12 | Шайба 10 ОТ ОСТ 37.001.115-75 | |
| 116 | 2 | Шайба 12 ОТ ОСТ 37.001.115-75 | |
| 120 | 3 | Проволока 1,0-О-С ГОСТ 3282-74 (250 мм) | |
| 123 | НШ32МА-3 | 1 | Насос шестеренный (доп. зам. на поз.31 или поз.124 или поз.125) |
| 124 | НШ32Д-3 | 1 | Насос шестеренный (доп. зам. на поз. 31 или поз.123 или поз.125) |
| 125 | НШ32УКФ-3 | 1 | Насос шестеренный (доп. зам. на поз.31 или поз.123 или поз.124) |
Рейтинг компании ООО «Агроснабпоставка Плюс»: 4.8 (Голосов: 237)★★★★★

