Каталог запчастей для тракторов МТЗ 80, 82
Корпус сцепления (реверс-редуктор)
Корпус сцепления (понижающий редуктор)
Корпус сцепления (привод ВОМ, привод насоса гидросистемы навески)
Трубопроводы топливные и установка топливной аппаратуры (с топливным насосом 772.1111005)
Трубопроводы топливные и установка топливной аппаратуры (с топливным насосом PP4M10P1F-3478)
Коробка передач. Корпус коробки передач
Механизм переключения передач. Крышка
Коробка передач с рычагом переключения по центру
Вал первой передачи и заднего хода
Механизм переключения передач. Корпус вилок
Передний мост МТЗ купить в Минске
Главная передача. (Мост с коническими редукторами)
Редуктор конечной передачи ПВМ (конический редуктор)
Корпус заднего моста. Конечная передача. (2401, 2407)
Дифференциал. Стакан подшипников
Привод управления рулевого. Вариант с ГОРУ
Привод управления рулевого. Вариант с ГУР
Гидроцилиндр 50x25-200. Вариант с ГОРУ
Арматура рулевого управления. Вариант с ГОРУ
Гидроцилиндр Ц63 и арматура ГОРУ (ПВМ 822-2300020-04)
Аккумуляторные батареи. Установка аккумуляторных батарей
Генератор МТЗ: купить в Минске
Наружная блокировка нижних тяг
Арматура корпуса гидроагрегатов
Гидроагрегаты и арматура. Вариант с силовым регулятором
Гидроагрегаты и арматура. Вариант без силового регулятора
Корпус гидроагрегатов и фильтр. Вариант 2
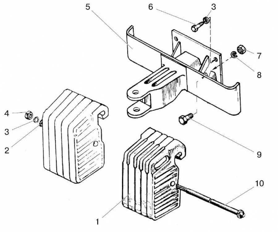
Балласт передний (4235) для трактора МТЗ-80

№ поз. | Артикул | Кол-во | Наименование |
1 | 70-4235011 | 10 | Груз |
2 | ШЧ 16 | 1 | Шайба |
3 | ШП 16 | 3 | Шайба |
4 | М16 | 1 | Гайка |
5 | 70-4235020 | 1 | Кронштейн |
6 | М16х32 | 2 | Болт |
7 | М20 | 2 | Гайка |
8 | ШП 20 | 2 | Шайба |
9 | 70-4605036 | 2 | Болт |
10 | 80-4235015 | 1 | Струна |
Рейтинг компании ООО «Агроснабпоставка Плюс»: 4.8 (Голосов: 237)★★★★★