Каталог запчастей для тракторов МТЗ БЕЛАРУС-900/920/950/952
Баки топливные (металлические) (1101)
Баки топливные (пластмассовые) (1101)
Бак топливный (в комплектации трактора с гидроподъемником) (1101)
Управление подачей топлива (1108)
Управление подачей топлива (с гидроподъемником) (1108)
Управление подачей топлива (с управлением гидронавесной системой типа «Joystick») (1108)
Установка воздухоочистителя «Donaldson» (Д-245.5S2/Д-245.43S2) (1109)
Блок охлаждения (для Беларус – 900/900.2/920./920.2/950./950.2/952/952.2) (1301)
Блок охлаждения (для Д-245.582/Д-245.4382) (1301)
Охладитель надувочного воздуха (Д-245.5S2/Д-245.43S2) (1317)
Корпус сцепления. Отводка (1601)
Корпус сцепления (привод ВОМ, привод насоса гидросистемы навески) (1601)
Механический понижающий редуктор/ механический ускоритель (1721)
Синхронизированный понижающий редуктор/ синхронизированный ускоритель (1721)
Управлением редуктором/ускорителем (1723)
Синхронизированный реверс - редуктор (1721)
Управление синхронизированным реверс - редуктор (1723)
Вал первичный и вал вторичный механической КП (1701)
Первичный вал синхронизированной КП (1701)
Вторичный вал синхронизированной КП (1701)
Вал 1-ой передачи и передачи заднего хода (1701)
Вал промежуточный. Вал внутренний (1701)
Механизм управления механической КП. Корпус вилок (1702)
Механизм управления синхронизированной КП. Корпус вилок (1702)
Раздаточная коробка (для Беларус – 920/920.2/920.3/952/952.2/952.3) (1802)
Управление раздаточной коробкой (для однорычажной КПП) (1802)
Управление раздаточной коробкой (для двухрычажной КПП) (1802)
Передний ведущий мост 72-2300020-А (2300)
Передний ведущий мост 822-2300020 (2300)
Главная передача переднего ведущего моста (2302)
Редуктор конечной передачи переднего ведущего моста (для ПВМ 72-2300020-А) (2308)
Редуктор конечной передачи переднего ведущего моста (для ПВМ 822-2300020) (2308)
Корпус заднего моста. Конечная передача (2401, 2407)
Дифференциал. Стакан подшипников (2403)
Устройство прицепное. Вариант «крюк» (по заказу) (2707)
Устройство прицепное. Вариант «маятник или прицеп» (2707)
Колеса передние направляющие. Ступицы передних колес. (Для тракторов с передней осью) (3101, 3103)
Колеса передние ведущие (3101)
Колеса передние ведущие II (3101)
Колеса передние ведущие III (3101)
Диск МТЗ задний. Колеса задние. Ступицы задних колес (3104, 3107)
Арматура рулевого управления (3407)
Гидроцилиндр и арматура ГОРУ (вариант с передней осью) (3405, 3407)
Гидроцилиндр и арматура ГОРУ (ПВМ 72-2300020-A-04) (3405, 3407)
Гидроцилиндр Ц63 и арматура ГОРУ (ПВМ 822-2300020-02/-04) (3405, 3407)
Гидроцилиндр Ц63 (63x30-200) (3405)
Управление рулевое с ПВМ 822-2300020-04 и отдельным баком (3407)
Управление тормозами (сухого трения) (3502, 3503)
Тормоза (вариант исполнения) (3502)
Тормоза «мокрые» (левый/правый) (3502)
Управление «мокрыми» тормозами (3503)
Тормоз стояночный. Управление стояночным тормозом (3504, 3507)
Тормоз стояночный. Управление стояночным тормозом (для «мокрых» тормозов) (3504, 3507)
Трубопроводы и арматура однопроводного пневмопривода тормозов прицепа (3506)
Трубопроводы и арматура двухпроводного пневмопривода тормозов прицепа (3506)
Кран тормозной (для однопроводного пневмопривода) (3514)
Установка заглушки (для тракторов без пневмокомпрессора) (3509)
Электрооборудование по дизелю (3709, 3710)
Электрооборудование по дизелю (для тракторов Беларус - 900.3/920.3/950.3/952.3) (3709, 3710)
Электрооборудование трансмиссии (3700)
Электрооборудование по кабине (3700)
Установка батарей аккумуляторных (система запуска 12В) (3703)
Установка батарей аккумуляторных (система запуска 24В) (3703)
Установка батарей аккумуляторных (3703)
Подогреватель электрофакельный (3707)
Установка фонарей передних I (3712)
Вал отбора мощности задний I (4202)
Вал отбора мощности задний II (4202)
Вал отбора мощности боковой (4204)
Механизм задней навески (для тракторов с силовым регулятором) (4605)
Механизм задней навески (для тракторов с силовым регулятором) II (4605)
Механизм задней навески (с гидроподъемником) (4605)
Наружная блокировка нижних тяг (4605)
Гидросистема Р85-4600015 (4607)
Гидросистема Р90-4600010 (4607)
Гидросистема Р1221-4600010 (4607)
Корпус гидросистемы Р1221-4600010 (4607)
Гидросистема 80-4600010-Б (4607)
Гидроагрегаты и арматура (с силовым регулятором) (4607)
Гидроагрегаты и арматура (с гидроподъемником и распределителем RS 213 MITA) (4607)
Гидроагрегаты и арматура (с гидроподъемником) (4607)
Корпус гидросистемы и фильтр (4607)
Гидрораспределитель Р80-3/4-222-З Гг
Управление гидрораспределителем Р80
Управление гидрораспределителем RS 213 Mita, RS 213 Belarus, РП 70 (4607)
Управление регулятором (ГНС со смешанным регулированием) (4616)
Переключатель (ГНС со смешанным регулированием) (4616)
Цилиндр гидроподъемника (4635)
Распределитель гидроподъемника (4634)
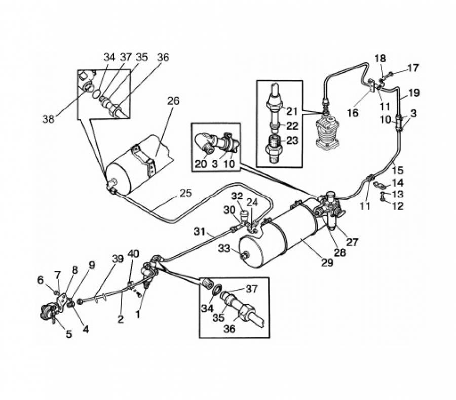
Трубопроводы и арматура однопроводного пневмопривода тормозов прицепа (3506)
| № поз. | Артикул | Кол-во | Наименование |
| 1021-3506020-01 | 1 | Трубопровод (2, 35-37) | |
| 80-3506455 | 1 | Трубопровод (31, 35-37) | |
| 80-3506220 | 1 | Трубопровод (19, 21, 22) | |
| 923-3506020** | 1 | Трубопровод (25, 35-37) | |
| 1 |
А29.3514010 или 80-3514010 |
1 | Кран тормозной |
| 2 | 1021-3506021-01 | 1 | Трубка |
| 3 | 5000.02 | 8 | Хомут с червячной резьбой 16-27 |
| 4 | 1522-3521012 | 1 | Штуцер |
| 5 |
А29.76.000 или 80-3521010 |
1 | Головка соединительная |
| 6 | М10-6Н.6.019 ГОСТ 5915-70 | 2 | Гайка |
| 7 | 10 ОТ ОСТ 37.001.115-75 | 2 | Шайба |
| 8 | 70-3521012 | 1 | Кронштейн |
| 9 | М10-6gх25.88.35.019 ГОСТ 7796-70 | 2 | Болт |
| 10 | 70-1405013 | 2 | Шланг |
| 11 | 70-3506027 | 2 | Втулка |
| 12 | М8-6gх16.88.35.019 ГОСТ 7796-70 | 1 (2*) | Болт |
| 13 | 8Т ОСТ 37.001.115-75 | 2 (3*) | Шайба |
| 14 | 70-6804011 | Держатель | |
| 15 | 80-3506041 | 1 | Трубопровод |
| 16 | М80-4607018 | 1 | Кронштейн |
| 17 | М8-6gх20.88.35.019 ГОСТ 7796-70 | 1 | Болт |
| 18 | С 8.01.019 ГОСТ 11371-78 | 1 | Шайба |
| 19 | 80-3506221 | 1 | Трубопровод |
| 20 | 70-3513015 | 1 | Угольник |
| 21 | 70-3506023 | 1 | Гайка накидная |
| 22 | 80-3506024 | 1 | Муфта |
| 23 | 70-3506022 | 1 | Штуцер |
| 24 | 80-3513050** | 1 | Тройник |
| 25 | 923-3506021** | 1 | Трубка |
| 26 | 50-3513015-А** | 1 | Баллон |
| 27 |
А29.51.000 Б или 80-3512010 |
1 1 |
Регулятор давления |
| 28 | 80-3512006 | 1 | Контргайка |
| 29 | 80-3513010 | 1 | Баллон |
| 30 | 80-3513025 | 1 | Тройник |
| 31 | 80-3506454 | 1 | Трубка |
| 32 | ДД10-01-Е | 1 | Датчик давления воздуха |
| 33 | ДАДВ | 1 | Датчик аварийного давления воздуха |
| 34 | 012-015-19-2-4 ГОСТ 18829-73/9833-73 | 4 (6**) | Кольцо |
| 35 | 1522-3506024 | 4 (6**) | Муфта |
| 36 | 1522-3506023 | 4 (6**) | Гайка накидная |
| 37 | 1522-3506022 | 4 (6**) | Ниппель |
| 38 | 1522-3514033** | 1 | Угольник |
| 39 | 80-3723045-01 | 2 | Манжета |
| 40 | 70-4802046* | 1 | Хомут |
* «Сухие» тормоза
** По заказу
Рейтинг компании ООО «Агроснабпоставка Плюс»: 4.8 (Голосов: 237)★★★★★

