Каталог запчастей для тракторов МТЗ БЕЛАРУС-3522
Управление тормозами на реверсе (3503)
Управление стояночным тормозом (3507)
Пневмопривод тормозов прицепа (комбинированный) (3506)
Установка однопроводного крана тормозного (3514)
Установка фонарей передних (3700)
Установка фонарей задних (3723)
Электрооборудование кабины (3700)
Электрооборудование отопителя (3700)
Электрооборудование трансмиссии (3700)
Установка маяка сигнального (3738)
Электрооборудование по двигателю (3700)
Привод насоса переменной подачи (4604)
Механизм задней навески (4605)
Переднее навесное устройство (4606)
Захват 2522-4605300/-01 «МТЗ» 3кат. (4605)
Гидроагрегаты и арматура (4607)
Установка заднего стеклоочистителя (5205)
Установка переднего стеклоочистителя (5205)
Установка компрессора и шлангов кондиционера (8101)
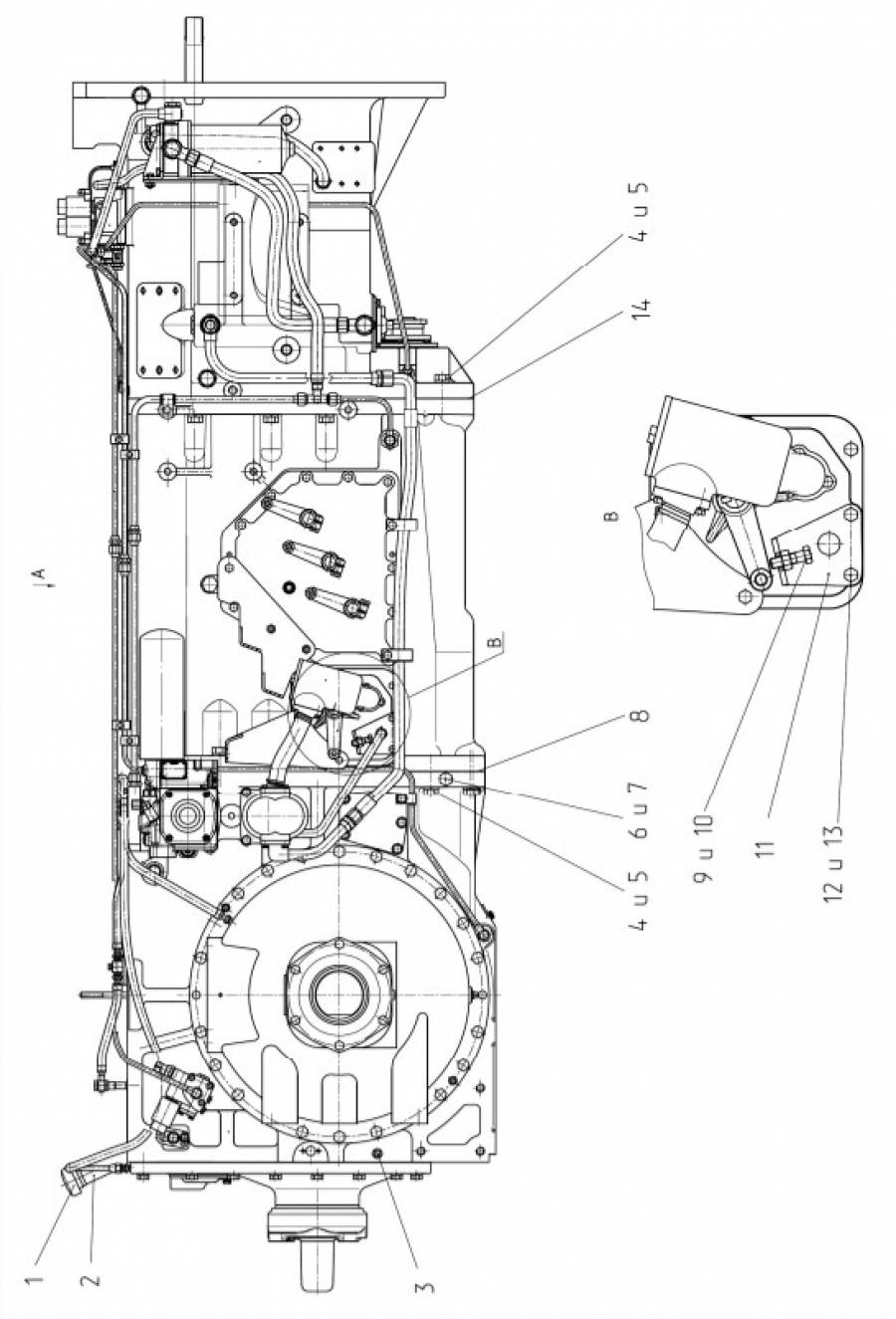
Трансмиссия (2400)

рис. 2
№ поз. |
Артикул |
Кол-во |
Наименование |
1 |
240-3707200 |
1 |
Пробка |
2 |
2522-2401200 |
1 |
Горловина заливная |
3 |
ПК КГ3/8" |
1 |
Пробка |
4 |
70-4605036-03 |
38 |
Болт (М20х75) |
5 |
4598166072 |
38 |
Шайба 20 ОТ ОСТ 37.001.115-75 |
6 |
70-4608027 |
1 |
Пробка |
7 |
1 |
Шайба РМ22 |
|
8 |
2522-2401016 |
2 |
Прокладка |
9 |
1 |
Болт М12-6gх40.88.35.019ГОСТ 7796-70 |
|
10 |
1 |
Гайка М12-6Н.6.019 ГОСТ 5915-70 |
|
11 |
3522-2401236 |
1 |
Кронштейн |
12 |
2 |
Болт М10-6gх55.88.35.019ГОСТ 7795-70 |
|
13 |
4598166067 |
2 |
Шайба 10 ОТ ОСТ 37.001.115-75 |
14 |
2522-1701026 |
1 |
Прокладка |
15 |
2 |
Болт М12-6gх30.88.35.019ГОСТ 7796-70 |
|
16 |
4598166068 |
2 |
Шайба 12 ОТ ОСТ 37.001.115-75 |
17 |
2522-2401214 |
1 |
Прокладка |
18 |
240-1002085 |
1 |
Сетка |
Рейтинг компании ООО «Агроснабпоставка Плюс»: 4.8 (Голосов: 237)★★★★★